智慧气象环境监测设备供应商
始终坚持做高精度客户喜爱的科技产品

一、三维无人机风速风向仪产品介绍
三维无人机风速风向仪又称迷你三维风速风向仪,三维无人机风速风向仪是一款利用超声波在空气中传播时间差法原理来测量风速、风向的高精度三维超声波风速风向测量仪器。三维无人机风速风向仪结构设计紧凑(测量路径仅35毫米),重量轻(114克)。尽管它的体积小,但它是一个功能强大、高度精确的测量测风传感器,用于大气监测、天气报告和环保气流系统研究,可以提供风速、风向、倾斜度、电子罗盘和北斗等数据。
三维无人机风速风向仪可以提供空气流动精确的三维风测量数据。数据输出可以根据用户需求定制。
三维无人机风速风向仪的小尺寸外形和重量轻巧使其成为无人机系统(UAS)的完美选择,没有移动部件,消除了维护问题,使其能够放置在固定或移动平台上进行自然界中实时三维气流测量。
二、三维无人机风速风向仪应用领域
大气探测与科研
U,V,W矢量输出
无人机高空气流监测系统
应急救援特殊地表空气湍流监测
人工影响天气边坡气流上升监测
三、三维无人机风速风向仪技术参数
| 风速 | 测量范围 | 0-50m/s |
| 精度 | ±2% | |
| 分辨率 | 0.1m/s | |
| 风向 | 测量范围(U/V) | 0-359° |
| 测量范围(W) | ±60° | |
| 精度 | ±3° | |
| 分辨率 | 1° | |
| 超声波输出频率 | 1Hz(标准输出);2Hz,5Hz,10Hz(选配) | |
| 测量单位 | m/s,knots,mph,kph,ft/min | |
| 数字/模拟输出接口 | RS232/RS485(选其一) | |
| 通讯波特率 | 4800-19200 | |
| 防护等级 | IP65 | |
| 工作温度 | -40℃-+70℃ | |
| 电磁屏蔽 | 符合EN61000-6-2标准 | |
| 电源需求及功耗 | DC9-30V(30mA@12V) | |
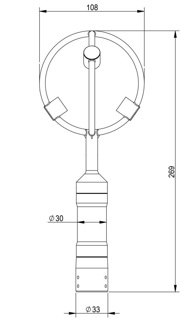
| 外型尺寸/重量 | Φ108×269mm/114g | |
| 材料 | 黑色树脂 | |
四、三维无人机风速风向仪产品尺寸图
更新时间:2026-05-09